1/2"-20 x 2" Drive In Trailer Hub Lug Stud Press In
Meet the 1/2"-20 x 2" Drive In Trailer Hub Lug Stud Press In — a durable, ready-to-install wheel stud built for Dexter hubs and a wide range of trailer axles. If your studs are rusted, lost, or broken during maintenance, these standard replacements have your back and your axle rolling again with minimal fuss.
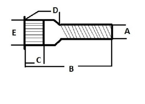
Key Features & Design
- Finish: Grade 8
- Wheel Stud Overall Length: 2"
- Thread Length: approx 1"
- Insert Length: 1/2"
- Cap Diameter: 3/4"
- Knurl Diameter:.0.61" (hole size would be slightly smaller than this in your hub 8-248, 8-249, 8-251, 8-256)
- Compatibility & Applications: For Dexter hubs, 8-247, 8-248, 8-249, 8-251 and 8-256 and many other Trailer Axles
- Usage: These are the standard wheel studs for many 3500# Dexter Axles
- Installation tip: If your AXLE Studs are rusted so bad you can't use them, they were lost or broken during maintenance, you can go ahead and pop these studs in as long as there are 20 threads counted in a (1/2"-20) and it measures the same lengths as listed below
- Order Information: Mfg# 858-1226
Designed to be a reliable, straightforward replacement, these press-in studs simplify trailer maintenance and keep your wheels securely mated to your axles. Confirm the hub compatibility and count the threads to ensure a perfect fit, and you’ll be back on the road in no time.
| SKU # | Description | A | B | C | D | E | Mfg# |
|---|---|---|---|---|---|---|---|
| 858-1226 | STUD PRESS-IN 1/2"-20 X 1.99" L GR 8 | 1/2-20 | 1.99 | .42 | .60 | .61 | 007-122-00 |
Manufacturer:
MHTDEV LLC,
Address:
930 South 4th Street,
Las Vegas Nevada 89101, United States
Email:sales@myhackertech.com
Responsible person in the EU
Name: SINDEN VENTURES LIMITED
Address: Markou Evgenikou 11, Mesa Geitonia 4002 Limassol Cyprus
Email: gpsr@sindenventures.com
This product is made for adults.
Meets the flammability, lead, cadmium, bisphenols and phthalates level requirements.
2 year warranty in EEA and UK, established by Directive 1999/44/EC.
MHTDEV LLC,
Address:
930 South 4th Street,
Las Vegas Nevada 89101, United States
Email:sales@myhackertech.com
Hall of Fame. Every one of our customers is guaranteed a free shoutout on our Instagram (@myhackertech)
★ ★ ★ ★ ★